Диски, придатні для друку
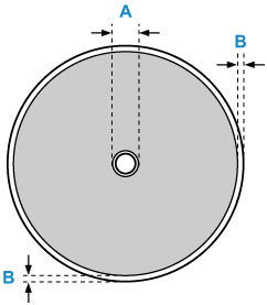
Область друку на диску для друку, становить від 17 мм (0,67 дюйма) від внутрішнього діаметра до 1 мм (0,04 дюйма) від зовнішнього діаметра поверхні для друку.

Область, призначена для друку
- A: 17,0 мм (0,67 дюйма)
- B: 1,0 мм (0,04 дюйма)
